Добавить новость
ВСЕ новости СЕГОДНЯ
RSS.+ — история VIP в новостях News24 с календарным архивом. Все самые быстрые 24/7 новости в ежеминутном тематическом обновлении Life24 — на русском, и не только + Today24, а также тексты с озвучкой — в авторском разделе #123ru.net
Ria.city

Samsung готовит новый смартфон, который сможет складываться втрое

«iXBT.com»
46

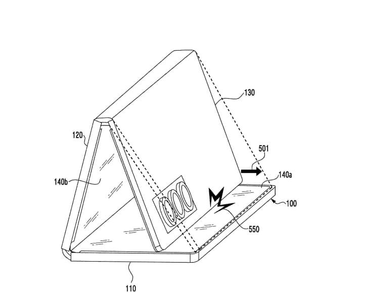
На это указывает новый патент

Компания Samsung продолжает эксперименты с трёхсекционными складными смартфонами. Новый патент описывает концепт Galaxy Z TriFold Wide, который отличается более широким форм-фактором.

В сложенном состоянии устройство должно напоминать обычный смартфон, пусть и немного шире, а в разложенном превращаться в полноценный экран планшетного уровня.

Рендер на базе патентного изображения. Grok

Первая попытка Samsung в этом сегменте оказалась дорогой и сложной в производстве, однако интерес пользователей оказался высоким: ограниченные партии быстро раскупались, а цены на вторичном рынке росли.

Изображение cdn.prod.website
Изображение cdn.prod.website
Изображение cdn.prod.website

На фоне усиления конкуренции со стороны Huawei и возможного выхода Apple в этот сегмент Samsung пытается превратить экспериментальную идею в массовый продукт.



Все новости по теме на сегодня

Samsung в новостях



Музыкальные новости


Все новости 24/7






Бизнес

Весь бизнес

Культура

Спорт

Политика

Общество

Авторы

Новости тенниса



Rss.Plus — реально независимые новости по темам (энциклопедический систематизированный навигатор "Википедия новостей 24/7" c ежеминутным тематическим мониторингом интернет-пространства) в форме аполитичного просветительского интернет-журнала на русском языке, без цензуры, на многоязычной международной веб-платформе 103news.com в содружестве с более чем 20 000 источников информации во всём мире, сайтом News-Life.pro, глобальными гео-проектами Ria.City и Moscow.Media под патронажем Russia24.pro с уникальным персонифицированным новостным разделом "Региональная власть РФ" без купюр и модерации, а также "VIP-скандалы" в двух цветовых вариантах "День - Ночь" (кнопка справа вверху). Эти новости увидят Ваши внуки (наша система обеспечивает вечное хранение опубликованной информации 24/7). Будьте честными сегодня, чтобы было не стыдно завтра.

Опубликовать свою новость в любом городе и регионе, а также на любом языке мира можно мгновенно — здесь


Ria.city
Новости России
Экология в России и мире
Спорт в России и мире
Moscow.media
Новости Крыма на Sevpoisk.ru
Губернаторы России

Все города России от А до Я

Персональные новости

BigPot.News — быстрые и самые свежие тематические новости об известных личностях в России, в Украине, в Беларусии, в Казахстане и за их пределами в календарном формате 24/7 на основе авторской технологичной информационно-поисковой системы Smi24.net с элементами искусственного интеллекта, гео-отбора и возможностью мгновенной публикации авторского контента в категориях News и Life в режиме Free Public



Больше новостей СЕГОДНЯ


RSS.plus — СРОЧНЫЕ новости. Неоспоримое преимущество RSS.plus — максимальная скорость публикаций 24/7. Быстрее нас, СЕЙЧАС, лишь только — ВЕТЕР Сайт создан под патронажем Россия24.pro — непрерывные новости из регионов 24/7 на русском + новости Москвы от Moscow.Media и мировые новости от Smi24.net и партнёров в календарном формате (вчера, сегодня и сейчас) совместно с 123ru.net и платформой СМИ24.net по технологии 103 NEWS

Опубликовать свою новость в любом городе и регионе, а также на любом языке мира можно мгновенно — здесь







Rss.plus